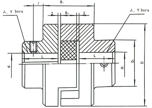
WH (KL) type slider coupling Features and applications: can not buffer, reduce vibration, small radial size, small moment of inertia. Suitable for two-axis joints with small torque, little change in load, and no severe impact
![]() ![]() |
WH (KL) type slider coupling Features and applications: can not buffer, reduce vibration, small radial size, small moment of inertia. Suitable for two-axis joints with small torque, little change in load, and no severe impact
![]() ![]() |
WH (KL) type slider coupling Features and applications: can not buffer, reduce vibration, small radial size, small moment of inertia. Suitable for two-axis joints with small torque, little change in load, and no severe impact
![]() ![]() |
Zhenjiang Haicheng Machinery Manufacturing Co., Ltd.
? Haicheng Group All rights reserved.
???????????? Address: No. 68, High-tech Development Zone, Zhenjiang City, Jiangsu Province
Service Hotline:18913433240
???????????? Company Tel: 0511-85783292 Company Fax:0511-85019680 (automatic
reception)
Copyright ? Zhenjiang Haicheng Machinery Manufacturing Co., Ltd. All Rights Reserved .
Copyright ? Zhenjiang Haicheng Machinery Manufacturing Co., Ltd. All Rights Reserved .
Add:No. 68, High-tech Development Zone, Zhenjiang City, Jiangsu Province Service Tell:0511-85783292